С 9:00 до 22:00
WhatsApp
Задать вопрос
Наверх
Сообщение успешно отправлено!
Заказать обратный звонок
Наш специалист свяжется с вами в ближайшее время и ответит на интересующие вас вопросы
Нажимая на кнопку “Заказать звонок”, я даю своё согласие на обработку указанных персональных данных , подтверждаю, что мне понятна Политика конфиденциальности типографии EGF (Еврографика), я принимаю Условия обслуживания .
Заказать обратный звонок
Наш специалист свяжется с вами в ближайшее время и ответит на интересующие вас вопросы
Физлицо
Юрлицо
Нажимая на кнопку “Отправить”, я даю своё согласие на обработку указанных персональных данных , подтверждаю, что мне понятна Политика конфиденциальности типографии EGF (Еврографика), я принимаю Условия обслуживания .

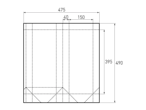
Вырубной штамп: V 150x395x80

Уважаемые клиенты!

Контур штампа высылается при наличии действующего договора о сотрудничестве с типографией EGF и открытого заказа. Номер заказа можно уточнить у менеджера, курирующего Ваши заказы в нашей типографии. Нажимая на кнопку ЗАПРОСИТЬ КОНТУР ШТАМПА приготовьтесь ввести номер Вашего заказа.

V 150x395x80
Штампы бумажных пакетов
Размеры:
ширина: 150 мм
высота: 395 мм
глубина: 80 мм
Тип вырубного штампа:
цельнокроенный
Габариты штампа:
475х490 мм

Ещё штампы в этом разделе

V 70x120x50
V70x170x70
G 200x180x100
V 90x150x90